Why Is My Lawn Mower Not Sparking? Troubleshooting Common Causes
Your lawn mower is an essential tool for keeping your yard looking its best. But what happens when it suddenly stops sparking, leaving you with an unkempt lawn? Don't despair! Identifying the root cause of a no-spark issue is crucial for a successful repair.
A Frustrating Conundrum: The No-Spark Problem
Nothing is more frustrating than pulling the starter cord of your lawn mower only to be met with a feeble sputter. A no-spark issue can arise from various factors, including faulty ignition components, electrical wiring problems, or even a malfunctioning ignition switch. Understanding these potential causes will guide you towards a practical solution.
Unveiling the Reasons for a No-Spark Lawn Mower
- Spark Plug Failure: The spark plug is the heart of your lawn mower's ignition system. If it's worn out, fouled with debris, or has a damaged electrode, it won't create the spark needed to ignite the fuel.
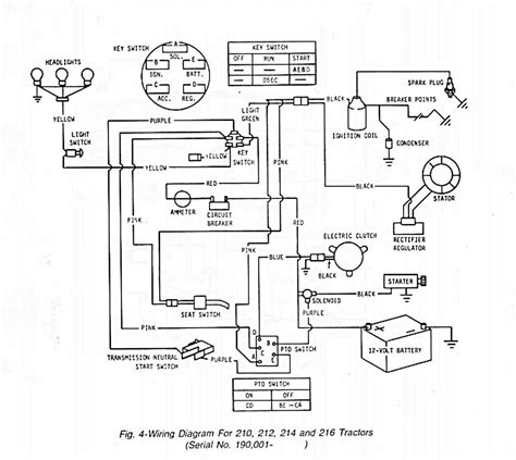
- Ignition Coil Malfunction: The ignition coil generates the high-voltage electricity required for the spark plug. A faulty coil can prevent the creation of a strong enough spark.
- Bad Ignition Switch: The ignition switch sends power to the ignition coil. If the switch is faulty or damaged, it can interrupt the electrical circuit and prevent the coil from receiving power.
- Loose or Corroded Connections: Electrical connections can become loose or corroded over time, especially in areas exposed to moisture. This can disrupt the flow of electricity and prevent the spark plug from receiving the necessary voltage.
- Faulty Flywheel or Rotor: The flywheel or rotor spins past the ignition coil, creating a magnetic field that induces voltage in the coil. If the flywheel or rotor is damaged or misaligned, it can affect the coil's ability to generate a spark.
Summarizing the Sparkless Lawn Mower Dilemma
A no-spark lawn mower can be caused by various issues, including:
- Worn or fouled spark plugs
- Malfunctioning ignition coils
- Faulty ignition switches
- Loose or corroded electrical connections
- Damaged flywheel or rotor
Identifying the specific cause requires a keen eye and a methodical troubleshooting approach. Addressing these issues will restore the spark and get your lawn mower back in shape, ensuring a lush and well-manicured lawn.
Why Does My Lawn Mower Have No Spark?
A lawn mower that fails to produce a spark can be a frustrating inconvenience. Identifying the root cause is crucial to resolve the issue effectively. This article delves into the various reasons why a lawn mower may experience a lack of spark and provides guidance on troubleshooting and resolving the problem.
Causes of No Spark in a Lawn Mower
1. Faulty Spark Plug
A damaged or worn-out spark plug can prevent the generation of a spark. The porcelain insulator may be cracked, the electrode gap incorrect, or the spark plug may be fouled with carbon deposits.
2. Faulty Ignition Coil
The ignition coil converts the low voltage from the battery into a high voltage that creates a spark. A faulty ignition coil may not provide sufficient voltage to ignite the fuel.
3. Corroded or Damaged Wires
Loose, damaged, or corroded wires can disrupt the electrical circuit and prevent the spark plug from receiving power. Check for any loose connections or frayed wires.
4. Faulty Safety Switch
Safety switches are designed to prevent the lawn mower from starting if the blade is engaged or if the operator is not in the proper position. A faulty switch can interrupt the circuit and prevent the spark plug from receiving power.
5. Ignition Module Failure
The ignition module controls the timing and intensity of the spark. A faulty ignition module may not provide the correct voltage or timing to create a spark.
6. Faulty Kill Switch
The kill switch is designed to shut off the engine in case of an emergency. A faulty kill switch can remain in the "off" position, preventing the spark plug from receiving power.
7. Low Fuel Level
A low fuel level can prevent the lawn mower from starting, as there is not enough fuel to create a combustible mixture.
Troubleshooting and Resolution
- Inspect the Spark Plug: Remove the spark plug and check for damage or carbon fouling. Clean or replace the spark plug as necessary.
- Test the Ignition Coil: Measure the resistance of the ignition coil using a multimeter. If the resistance is outside the manufacturer's specifications, replace the ignition coil.
- Check the Wires: Inspect all the wires for damage, corrosion, or loose connections. Clean the connections or replace damaged wires as needed.
- Test the Safety Switch: Engage the blade and check if the engine starts. If it does not, locate the safety switch and check if it is functioning properly.
- Examine the Ignition Module: Remove the ignition module and check for any visible damage or corrosion. If the ignition module appears faulty, replace it with a new one.
- Check the Kill Switch: Ensure that the kill switch is in the "on" position and that it is not malfunctioning.
- Replenish Fuel: If the fuel level is low, add fresh fuel to the tank.
Conclusion
Identifying the cause of a spark-less lawn mower and resolving the issue is essential for restoring the functionality of the equipment. By following the troubleshooting steps outlined in this article, you can effectively diagnose and address the underlying problem, ensuring your lawn mower operates smoothly and reliably.
FAQs
1. How often should I replace the spark plug in my lawn mower? Generally, spark plugs should be replaced every 100-200 hours of use or annually.
2. Can I test the ignition coil with a multimeter? Yes, you can use a multimeter to measure the resistance of the ignition coil. The specifications for the correct resistance will vary depending on the model of lawn mower.
3. What is the function of the safety switch in a lawn mower? The safety switch is designed to prevent the lawn mower from starting if the blade is engaged or if the operator is not in the proper position.
4. Why does my lawn mower start but not stay running? A low fuel level, a faulty ignition module, or a malfunctioning carburetor can cause a lawn mower to start but not stay running.
5. How can I prevent my lawn mower from losing its spark? Regular maintenance, including spark plug replacement, wire inspection, and fuel system care, can help prevent spark loss in lawn mowers.
.ads
Search This Blog
Powered by Blogger.
Blog Archive
- April 2024 (127)
- March 2024 (559)
- January 2023 (3)
- April 2020 (30)
- March 2020 (32)
- February 2020 (10)
Labels
- Abortive
- Absence
- Academic
- Accessibility
- Accord
- Accords
- Accurate
- Achieving
- Acoustic
- Acquiring
- Acquisition
- Acquisitions
- Action
- Actuation
- Acura
- Adams
- Adding
- Addressing
- Adhered
- Adherent
- Adjusting
- Adjustment
- Adjustments
- Advanced
- Aesthetics
- Affecting
- Affection
- Affective
- Affordable
- After
- Aged
- Ailing
- Aircraft
- AirFuel
- alberner
- Alchemy
- Alexander
- AllTerrain
- Altering
- Alternating
- Alternative
- Alternator
- AlternatorBattery
- AlternatorInduced
- Alternators
- Altima
- Aluminum
- amana
- Ampel
- Analysis
- Analytical
- Analyzing
- Anomalies
- Antiquated
- Anyone
- Apollo
- Apparatespiel
- Apparel
- Applications
- Appraisal
- Approach
- Approaches
- Appropriate
- Aquatic
- Arduous
- Aspirin
- Assembling
- Assesment
- Assessing
- Assessment
- Associated
- Attire
- Attractant
- Audible
- Audio
- Auditory
- Authoritative
- Automatic
- Automobile
- Automobiles
- Automobils
- Automotive
- AutoZones
- Avalon
- Avenues
- Average
- Babbage
- Babys
- Bailey
- Baits
- Basement
- Basis
- basketball
- Bass
- Battery
- Beam
- Beanie
- Bearing
- Bearings
- Beats
- Behind
- Belt
- Belts
- Bench
- Benchmarking
- Benchtop
- Benjamin
- Bent
- Bespoke
- Best
- beste
- besten
- between
- Biker
- Biografie
- biographie
- Bleeding
- BlenderCrafted
- Blinking
- Blistering
- Block
- Blocks
- Blown
- Blue
- Blutplasma
- Boat
- Boating
- Boats
- Bobs
- Bodies
- Body
- Bolt
- Bolts
- Bonds
- Bosch
- Bovine
- Boxer
- Boxes
- Brain
- Breakdown
- BreakIn
- Breaking
- Brettspiel
- Briggs
- Broken
- Buchdrucks
- Bumper
- Burden
- Bushings
- Bypassing
- Cable
- Cables
- Calculating
- Calibrating
- Calibration
- Calming
- Camper
- Campers
- Camry
- Canine
- Capabilities
- Caravan
- Carburetion
- Carburetor
- Carburetors
- Cars
- Cart
- Carz
- Case
- Castings
- Causative
- Cause
- Causes
- Ceiling
- Certified
- Chair
- Challenges
- Change
- Changes
- Changing
- Channels
- Charges
- charles
- Charm
- Chassis
- Check
- Cherokee
- Cherokees
- Chevrolet
- Chevy
- China
- Chip
- Chokes
- Christbaumständer
- Chronological
- Chronology
- Chrysler
- Circuitry
- Civic
- Class
- Classic
- Cleaner
- Cleaning
- Clinical
- Clothing
- Clutch
- Coat
- Codes
- Combating
- Combustion
- Commodore
- Common
- Comparative
- Comparing
- Compass
- Compendium
- Complexity
- Components
- Composition
- Comprehensive
- Compression
- Compromised
- Computer
- Computerabakus
- Computertastatur
- Concoction
- Condition
- Conditions
- Configuration
- Connecting
- Connections
- Connectivity
- Consequences
- Considerations
- Construction
- Consumption
- Contemporary
- Content
- Continuously
- Contributing
- Contributor
- Control
- Controls
- Conundrum
- Coolant
- Cooler
- Core
- Corolla
- Corollas
- Corporate
- Cost
- CostBenefit
- CostEffective
- Costs
- Cotton
- Countermeasures
- Couture
- Cover
- Covers
- Crack
- Cracked
- Craft
- Crafting
- Craftsman
- Crazy
- Cream
- Credit
- Culinary
- Curie
- Current
- Custom
- Cylinder
- Cylinders
- Dairy
- Damage
- Damaged
- dampfbetriebenes
- DataDriven
- Deciphering
- Decoding
- Deconstructing
- Deep
- Defective
- Deficiencies
- Deficiency
- Definitive
- Deflection
- Deformed
- Defunct
- DeIllumination
- Delectable
- Delicacy
- Delineating
- Delving
- Demolition
- Demystifying
- Density
- Depletion
- Derived
- Descend
- Descent
- Design
- Designing
- Designs
- Despite
- Detaching
- Detachment
- Detailed
- Detecting
- Deteriorating
- Deterioration
- Determinants
- Determine
- Determining
- Detrimental
- deutsches
- Development
- Device
- Devices
- Devil
- Devoid
- Diagnosing
- Diagnosis
- Diagnostic
- Diagnostics
- Diagramming
- Diesel
- Diffusion
- Diligent
- Diode
- Dipstick
- Disassembling
- Disassembly
- Discarded
- Discover
- Discovering
- Dismantling
- Display
- Disquisition
- Dissection
- Dissonance
- Distinguishing
- Divest
- Divesting
- Divestiture
- Dodge
- Doggy
- Drive
- Drivetrain
- druck
- Drucks
- Durability
- Duramax
- Duration
- During
- Dysfunction
- Dysfunctional
- Earphone
- Economic
- Edelbrock
- Effective
- Effectively
- Effectiveness
- Effects
- Efficiency
- Efficient
- Efficiently
- Electric
- Electrical
- Electrodiagnostic
- elektrische
- Element
- Elevate
- Elevated
- Elevating
- Elevation
- Eliminating
- Elite
- Elucidating
- Embedded
- Emergency
- Emissions
- Empirical
- EmpiricalBased
- Employing
- Employment
- EndofLife
- Enduring
- Enervated
- Engagement
- Engaging
- Engine
- Engineered
- Engineering
- Engineers
- Engines
- Enhanced
- Enhancement
- Enhancing
- Enigma
- Enrichment
- Ensuring
- entnahm
- Entstehung
- entwickelt
- Epitome
- Eradicating
- erfand
- Erfindernamen
- erfindung
- Erfindungen
- erfunden
- erschuf
- erste
- erster
- erstes
- Essence
- Essential
- Establishing
- Establishments
- Estimates
- Estimating
- Estimation
- Ethernet
- Etiological
- Etiologies
- Etiology
- Etiquette
- Evaluating
- Evaluation
- Evidence
- Evinrude
- Evolution
- Examination
- Examining
- Excellence
- Exceptional
- Excessive
- Exchange
- Excitation
- Execute
- Exhaustive
- Existence
- Expeditious
- Expenditure
- Expense
- Expenses
- Experiencing
- Expert
- Expertise
- Exploration
- Exploratory
- Exploring
- Extended
- Extensive
- External
- Extinguishing
- Extracting
- Extraction
- Fabricating
- Fabrication
- Facilitating
- Facilities
- Factor
- Factors
- Failing
- Failure
- Failures
- fakten
- Faraday
- Farm
- Fashioning
- Fast
- Fastener
- Fasteners
- Fault
- Faulty
- Favorable
- Feasibility
- Fence
- Fermi
- Ferrous
- Fiberglass
- Field
- Fiesta
- Fifth
- Filling
- Filter
- Financial
- Financing
- Finery
- Finest
- FineTuning
- Finishes
- Fiscal
- Fissured
- Flagge
- Flooded
- Flooding
- Floor
- Floors
- Florida
- Fluid
- Focus
- Ford
- Fords
- Formula
- Fostering
- Foundation
- Four
- Fractured
- Frames
- franklin
- Freeze
- Frequency
- friedrich
- Frigid
- from
- Front
- FrontEnd
- Frozen
- Fruity
- Fuel
- FuelRich
- Fulfilling
- Full
- Function
- Functionality
- Furniture
- Fuse
- Fuses
- Future
- Garment
- Garments
- garrett
- Gasket
- Gaskets
- Gear
- Gearbox
- GearGrinding
- Gearshift
- Gelcoat
- gemacht
- Generators
- Genius
- George
- gerade
- Geschichte
- Ghost
- glühbirne
- Golf
- Good
- Governors
- Graham
- Grand
- Granite
- Grave
- Gravestone
- Gravestones
- Graveyard
- Grinding
- große
- grow
- Guarantee
- Guidance
- Guide
- Halt
- Handling
- Handy
- handys
- Hard
- Hardwood
- HarleyDavidson
- Harvey
- hasbro
- Head
- Headboards
- Headers
- Headliner
- Headphone
- Headphones
- Heads
- Headset
- Headstone
- Healing
- Health
- Height
- henry
- Hershey
- Hidden
- High
- HighMileage
- HighPerformance
- HighQuality
- HiLift
- Hole
- Holes
- Holley
- Homemade
- Homo
- Honda
- Horizontally
- Hose
- Hoses
- Hosiery
- Hourly
- Hours
- House
- Hull
- Hulls
- Hydraulic
- Hyundai
- Icon
- Ideal
- Identification
- Identify
- Identifying
- Idle
- Ignition
- Ignitior
- Illuminated
- Immobilization
- Immobilized
- Impact
- Impacts
- Impaired
- Impeding
- Implementation
- Implements
- Implications
- Inability
- Inclined
- InDepth
- Indicator
- Indicators
- indigofera
- Ineffectiveness
- Inferior
- Influencing
- Informed
- Infrastructure
- Ingenious
- Ingredients
- Inherently
- Initiation
- Injectors
- Injuries
- Injury
- Innovative
- Inoperability
- Inoperative
- Inquiry
- Inquisitive
- Inscription
- Insight
- Inspection
- Install
- Installation
- Installing
- Instructive
- Insufficient
- Intake
- Integrating
- Integration
- Integrity
- Intensity
- Interconnection
- Interfacing
- Interior
- Internal
- Interrelation
- Intervals
- Into
- Intricacies
- Investigating
- Investigation
- Investigative
- Investment
- Involuntary
- Issues
- Jack
- Jacket
- Jackets
- Jackhammer
- Jacking
- Jacks
- Jackshaft
- Jacksonville
- Jacques
- Jeep
- Jerking
- Johnson
- Joists
- Jumpstart
- Jumpstarting
- Karcher
- kaugummi
- Keihin
- Keyless
- Kinder
- Kingdom
- Kits
- Klebstoffe
- Kleiderbügel
- Kota
- Kuscheltiere
- Labor
- Lamp
- Landscape
- Lawn
- Leading
- Leather
- Lebens
- Legacy
- Legality
- Leistung
- Leonardo
- Level
- Leveling
- Levels
- Lever
- Liberty
- Life
- Lifespan
- Lifetime
- Lift
- Lifting
- Light
- Lincoln
- Line
- Linkage
- Linux
- Liste
- Liter
- Local
- Locating
- Location
- Lockages
- Longevity
- LongTerm
- Loom
- Loose
- Loss
- Lower
- Lowering
- Lubricants
- Lubrication
- Lucas
- Luster
- Lustre
- Lustrous
- Machine
- Main
- Maintaining
- Maintenance
- Maladies
- Malfunction
- Malfunctioning
- Malfunctions
- Manifold
- Manual
- Manufacturer
- Marie
- Marine
- Mariners
- Market
- Marketplace
- Marketplaces
- Masterful
- Mastering
- Mattel
- Mattress
- Maximizing
- Mazda
- Measurement
- Measures
- Meat
- Mechanic
- Mechanical
- Mechanics
- Mechanism
- Mechanisms
- Mechanistic
- Memorialization
- Mending
- MerCruiser
- Mercury
- Metal
- Methodological
- Methodologies
- Methodology
- Methods
- Michael
- mikrowelle
- Mikuni
- Milkshake
- Minimal
- Minn
- Mitigate
- Mitigating
- Mitigation
- Mitsubishi
- Mixture
- Modernization
- Modifications
- Module
- Monetary
- Montgolfier
- Monument
- morgan
- Most
- Motocross
- Motor
- Motorbike
- Motorcycle
- Motorcycles
- Motorhome
- Motorhomes
- Motorized
- Motors
- Mount
- Mounting
- Mounts
- Mower
- Mowers
- much
- MultimeterBased
- NASCAR
- Needle
- Network
- Neutral
- Nissan
- Noise
- Noises
- NonCharging
- NonDestructive
- NonInvasive
- NonLifting
- NonMultimeter
- NonSewing
- NonTraditional
- norvegicus
- Novel
- Novices
- Nuances
- Obdurate
- Obstruction
- Obstructions
- Odyssey
- OffRoading
- OilBurning
- Ones
- OneWire
- Ongoing
- Operation
- Operational
- Operations
- Opportunities
- Optimal
- Optimalization
- Optimization
- Optimize
- Optimized
- Optimizing
- Options
- Osmotic
- Outback
- Outboard
- Outlander
- Outlay
- Outlets
- Output
- Overhaul
- Overhauling
- Overly
- Overview
- Owners
- Paint
- Pallet
- Parameters
- Paramount
- Particulate
- Pathfinders
- Pattern
- peck
- Performance
- Permanent
- Persistent
- Perspective
- Petite
- pfefferminze
- Phenomena
- Phenomenon
- Pier
- Pinnacle
- Pistons
- pittsburgh
- Pixel
- Placement
- Plans
- Planter
- Plate
- Plates
- Platform
- Plugs
- Pneumatic
- PneumaticHydraulic
- Points
- Pontiac
- Port
- Positioned
- Post
- PostCorrective
- Posts
- Potential
- Power
- Powerplants
- Powertrains
- Practical
- Practices
- Practitioners
- Precis
- Precise
- Precision
- PrecisionBased
- Preeminent
- Premier
- PreOwned
- Presence
- Preservation
- Preserving
- Pressure
- PreUtilized
- Prevailing
- Prevalence
- Prevention
- Price
- Pricing
- Prime
- Privacy
- Private
- Procedure
- Procedures
- Process
- Proctor
- Procure
- Procurement
- Production
- professional
- Proficiency
- Profitability
- Profligate
- Prognosis
- Prolonged
- Propeller
- Propulsion
- Protection
- Protocol
- Protocols
- Proven
- Providers
- Proximity
- Prudent
- Pull
- Pulley
- Pulleys
- Pump
- Purchasing
- Purpose
- Quadrajet
- Quantifying
- Racer
- Radiator
- Raised
- Ranger
- Rate
- Rates
- Rattus
- Reanimating
- Reasons
- Rebuild
- Rebuilding
- Rebuilds
- Rebuilt
- Reciprocal
- Recoil
- Recommendations
- Recondition
- Reconditioned
- Reconditioning
- Reconstructed
- Reconstructing
- Reconstruction
- Recovery
- Recycler
- RedditCurated
- Reduce
- Reduced
- Refinement
- Refurbished
- Refurbishment
- Regeneration
- Regenerations
- Regulator
- Regulators
- Rehabilitating
- Rehabilitation
- Reinstatement
- Reinvigorating
- Rejuvenate
- Rejuvenating
- Rejuvenation
- Releasing
- Reliability
- Reliable
- Remanufactured
- Remanufacturing
- Remedial
- Remediation
- Remedy
- Removal
- Removing
- Remuneration
- Renowned
- Repair
- Repaired
- Repairing
- RepairReplacement
- Repairs
- Reparations
- Replace
- Replacement
- Replacements
- Replacing
- Replenishment
- Reposition
- RePriming
- Reprogramming
- Reputable
- Required
- Rescue
- Reservoir
- Reset
- Resetting
- Residue
- Resistance
- Resolution
- Resolving
- Restoration
- Restore
- Restoring
- Resurfacing
- Resuscitating
- Resynchronization
- Retraction
- Revealed
- Revealing
- Reverse
- Revitalization
- Revitalizing
- Revival
- Rich
- Riding
- robert
- Robust
- Rochester
- Rocket
- Rods
- Role
- Roll
- Root
- Rope
- Rotary
- Rotationsdruck
- Rounded
- Rumbles
- Safe
- Safely
- Safety
- Sagging
- Sailboat
- Sales
- Sänger
- sapiens
- Satisfactory
- Schokoladenkekse
- Scientifically
- Scrap
- Scratches
- Screw
- Screws
- Scrutinizing
- Seafaring
- Seal
- Sealing
- Seamlessly
- Search
- Sears
- Seat
- Secrets
- Security
- Seized
- Semiconductor
- Sensor
- Sensors
- Sequels
- Serum
- Service
- Servicing
- Setup
- Severe
- Severed
- Severity
- Sewing
- Shaking
- Shift
- Shifting
- Shifts
- Ship
- Shirt
- Shower
- Showers
- Significance
- Signs
- Silky
- Silverado
- Silverados
- SilverPlated
- Simple
- Simplified
- Simulation
- Simulator
- Single
- SingleWire
- Situated
- Slinky
- Slip
- Slippage
- Slipping
- Small
- Snap
- Snowmobile
- Sock
- SocketRouter
- Sockets
- Softness
- Solenoid
- Solenoids
- Solution
- Solutions
- Sonic
- Soon
- Source
- Sources
- Spare
- Spectrum
- Speed
- Spiel
- Spring
- Spun
- Squeaking
- Squeaky
- Stability
- Stabilization
- Stand
- Standard
- Stands
- Start
- Starter
- Starters
- Starting
- Startup
- Stator
- Steel
- Steering
- StepbyStep
- Steps
- Sternen
- Stock
- Stranded
- Strategic
- Strategically
- Strategies
- Stratton
- Strawberry
- StrawberryBanana
- Stripped
- Stroke
- Structural
- Stubborn
- Studio
- Study
- Style
- Subaru
- Subarus
- Subjected
- Suboptimal
- Substantial
- Substrates
- Summer
- Super
- Superior
- Superiority
- Support
- Surfaces
- Surveying
- Suspension
- Swap
- Swapping
- Sweater
- Sweaters
- Symptomatic
- Symptoms
- Synchro
- Synchronizer
- System
- Systematic
- Systems
- Taco
- Tacoma
- Tacos
- Tacosphere
- Tailoring
- Task
- tastatur
- team
- Technical
- Technicians
- Techniques
- Technology
- Telefon
- Telephone
- Telltale
- Temperatures
- Temporal
- Tenaciously
- Tensioner
- Testing
- Tests
- Their
- Thickness
- Third
- Thomas
- Thread
- Three
- ThreeWire
- Throttle
- through
- Thundershirt
- Tile
- Time
- Timeframe
- Timeline
- Timing
- Tiny
- Tire
- Toilet
- toilettenpapier
- Tombstone
- Tonne
- Tool
- Topography
- TopRated
- Toro
- Town
- Toyota
- Tractor
- Tractors
- Trailer
- Transaxle
- Transducer
- Transfer
- Transforming
- Transmission
- Transmissions
- Transom
- Transport
- Traps
- Traumatic
- Travel
- Treadmill
- Treadmills
- Tremors
- Tricycle
- Triggered
- Triton
- triviale
- Trolling
- Troubleshooting
- Truck
- TShirt
- TShirts
- Tubes
- Tucson
- Tuner
- Tuning
- Turbo
- Ultimate
- Uncovering
- Underlying
- Understanding
- Unfastening
- Unidirectional
- Unit
- United
- Units
- Unleashing
- Unlocking
- Unparalleled
- Unplug
- Unraveling
- Unreal
- Unveiling
- Unyielding
- Upcycling
- Upgrades
- Upgrading
- Upholstery
- upon
- Used
- Using
- Utilization
- Utilized
- Utilizing
- Value
- Valve
- Valves
- Variable
- Vehicle
- Vehicles
- Vehicular
- Vendors
- Venue
- Verfolgungsfragen
- verrückte
- Vessel
- Vessels
- Viability
- Vinci
- Vintage
- Vital
- Volkswagen
- Voltage
- Vortec
- Wall
- Walls
- Wardrobe
- Warped
- Waste
- Water
- WaterDamaged
- Websites
- Weight
- Welded
- weltgrößte
- Wheel
- Wheelchair
- Where
- Whine
- Whining
- wire
- Wiring
- with
- Without
- Wooden
- wurde
- wurden
- Yamaha
- Yanmar
- Yellow
- Yield
- Your
- Yukon
- zeitleiste